PORTES D'ENTREE, PORTES DE SERVICE

Si dans les fenêtres, les cadres de vantaux le plus souvent enchâssent un vitrage, il en est tout autrement pour les ouvrants des portes. Leur panneau central, c’est-à-dire le remplissage, constitue l’élément le plus décoratif, par là, il différencie de manière significative une porte d’une autre en la personnalisant.

Le panneau central peut être entièrement en verre (vitrage double, triple, transparent, opaque, imprimé, de différentes couleurs…) orné ou non de petits bois. Il peut être fait seulement d’un insert rigide en mousse isolante, recouverte d’une feuille aluminium ou alors, à l’opposé, ce peut être un panneau ouvragé avec les finitions très travaillées, alliant différentes matières comme verre, plastique, métal.

 

Il est évident que comparées aux fenêtres, les portes d’entrée sont exploitées (fréquence d’ouvertures/fermetures) bien plus intensément. C’est pourquoi, lors de l’achat, il faut prêter tout particulièrement attention à leur qualité, non seulement à celle des ferrures mais aussi à celle des profilés, leur solidité, leur robustesse. 

Par ailleurs, il faut savoir que le plastique bien plus que tout autre matériau de menuiserie, exposé à des températures extrêmes subit des variations dimensionnelles. Il se dilate au chaud et se rétrécit au froid et la dilatation est d’autant  plus significative pour les couleurs foncées qu’elles ont la faculté d’accumuler la chaleur. Par conséquent, pour ne pas risquer de mauvaises surprises, on conseille, surtout pour les portes grand gabarit et/où coloris foncés, pour éviter de mauvaises surprises, de viser le haut, le très haut de gamme, voire d’opter pour les menuiseries aluminium ou bois, le cas échéant.

 

PORTES SOFTLINE 76, IDEAL 85, SOFTLINE 82

Les portes d’entrées PVC, très bons produits fabriqués par les partenaires de CHACUN SES FENETRES sont proposées le plus souvent avec remplissage mixte, vitrage (différentes propriétés et fonctions)/ panneau plein simple ou ce même panneau sur toute la hauteur, plaxés de la teinte du cadre de l’ouvrant. Pour les variantes avec panneau décoratifs, sont disponibles de nombreux modèles  avec divers dessins et coloris.

Les portes d’entrés sont fournies en standard avec trois paumelles réglables en applique, serrure trois points, double poignée, seuil bas. Pour chacun des éléments d’équipements il y a des variantes en option comme serrure cinq points, paumelles cachées etc.

 

PORTE SOFTLINE 76 solidité à la base

Les portes SOFTLINE 76 est une porte solide (classe A des profilés VEKA) d’un bon niveau de performances.

MENUISERIES PVC

FENÊTRES

IDEAL 4000

SOFTLINE 76

SOFTLINE 82

INTERTEC 85

VARIANTE RENOVATION

PORTES D'ENTREE

PORTE SL 76

PORTE SL 82

PORTE 85

COULISSANTS

COULISSANT PSK

COULISSANT
SMART SLIDE

COULISSANT HST VM 82

COULISSANT HST 85

HABILLAGE ALUSKIN

COLORIS

COEFFICIENT Uw

MENUISERIES ALUMINIUM

MENUISERIES BOIS

VOLETS ROULANTS

PORTES DE GARAGE

CARACTERISTIQUES PRINCIPALES

Profondeur  76 mm, cinq chambres
Parois extérieure profilé épaisseur 3 mm – classe A
Renforts profilés acier galvanisé
Possibilité de forme cintrée
Deux joints de butée (à frappe)
Trois paumelles reglables
Serrure trois ou cinq points
Seuil plat
Remplissage : épaisseur jusqu’à 52 mm
* vitrage triple 4/16Ar/16AR/4 ou autre, en option :
  – propriétés spécifiques : isolation thermique accrue, isolation phonique accrue,  verre
    sécurit, anti-effraction, contrôle solaire
  – nombreux aspects décoratifs : delta, chinchilla, dépoli etc.
  – petits bois collés sur l’une ou deux faces ou intégrés dans le vitrage, coloris et épaisseurs
     au choix
  – intercalaire warm edge/bord chaud (coefficient d’isolation thermique Psi meilleur
    d’au moins 0.1 W/(m2.K)
* panneau plein simple (deux panneaux pvc renforcés par deux lames de contreplaqué
  4 mm, séparés par une mousse isolante haute densité) ou panneau décoratif
* mixte vitrage/panneau plein
Coloris :
* blanc teinté dans la masse
* autres teintes par plaxage texture veinage (nombreuses imitation bois) ou texture sable fin
* bi-coloris: blanc/couleur, couleur/couleur

 



PLUS D’INFORMATION ? DEMANDE DE DEVIS ?

CLIQUER ICI

PORTE IDEAL 85

Les portes IDEAL 85 appartiennent à la catégorie supérieure chez ALUPLAST, aussi bien par rapport aux paramètres techniques qu’au niveau de performances.

MENUISERIES PVC

FENÊTRES

IDEAL 4000

SOFTLINE 76

SOFTLINE 82

INTERTEC 85

VARIANTE RENOVATION

PORTES D'ENTREE

PORTE SL 76

PORTE SL 82

PORTE 85

COULISSANTS

COULISSANT PSK

COULISSANT
SMART SLIDE

COULISSANT HST VM 82

COULISSANT HST 85

HABILLAGE ALUSKIN

COLORIS

COEFFICIENT Uw

MENUISERIES ALUMINIUM

MENUISERIES BOIS

VOLETS ROULANTS

PORTES DE GARAGE

CARACTERISTIQUES PRINCIPALES

Profondeur  85 mm, six chambres
Renforts profilés acier galvanisé
Possibilité de forme cintrée
Deux joints de butée (à frappe)
Trois paumelles réglables
Serrure trois ou cinq points
Seuil plat
Remplissage : épaisseur jusqu’à 52 mm
* vitrage triple 4/16Ar/16AR/4 ou autre, en option :
  – propriétés spécifiques : isolation thermique accrue, isolation phonique accrue, 
    verre sécurit, anti-effraction, contrôle solaire
  – nombreux aspects décoratifs : delta, chinchilla, dépoli etc.
  – petits bois collés sur l’une ou deux faces ou intégrés dans le vitrage, coloris
    et épaisseurs au choix
  – intercalaire warm edge/bord chaud (coefficient d’isolation thermique Psi meilleur
    d’au moins 0.1 W/(m2.K)
* panneau plein simple (deux panneaux pvc renforcés par deux lames de contreplaqué
   4 mm, séparés par une mousse isolante haute densité) ou panneau décoratif
* mixte vitrage/panneau plein
Coloris :
* blanc teinté dans la masse
* autres teintes par plaxage texture veinage (nombreuses imitation bois) ou texture sable fin
* bi-coloris: blanc/couleur, couleur/couleur

PLUS D’INFORMATION ? DEMANDE DE DEVIS ?

CLIQUER ICI

PORTE SOFTLINE 82

Les portes SOFTLINE 82 c’est non seulement la classe A des profilés, c’est aussi leur robustesse, leur performances qui en font un produit solide de haut de gamme

 

MENUISERIES PVC

FENÊTRES

IDEAL 4000

SOFTLINE 76

SOFTLINE 82

INTERTEC 85

VARIANTE RENOVATION

PORTES D'ENTREE

PORTE SL 76

PORTE SL 82

PORTE 85

COULISSANTS

COULISSANT PSK

COULISSANT
SMART SLIDE

COULISSANT HST VM 82

COULISSANT HST 85

HABILLAGE ALUSKIN

COLORIS

COEFFICIENT Uw

MENUISERIES ALUMINIUM

MENUISERIES BOIS

VOLETS ROULANTS

PORTES DE GARAGE

CARACTERISTIQUES PRINCIPALES

Profondeur  85 mm, sept chambres dormant, cinq chambres ouvrant
Parois extérieure profilé épaisseur 3 mm – classe A
Renforts profilés acier galvanisé
Possibilité de forme cintrée
Deux joints de butée (à frappe), joint central sur le pourtour du dormant renforçant l’étanchéité
Trois paumelles réglables
Serrure trois ou cinq points
Seuil plat
Remplissage : épaisseur jusqu’à 52 mm
* vitrage triple 4/16Ar/16AR/4 ou autre, en option :
  – propriétés spécifiques : isolation thermique accrue, isolation phonique accrue,  verre
    sécurit, anti-effraction, contrôle solaire
  – nombreux aspects décoratifs : delta, chinchilla, dépoli etc.
  – petits bois collés sur l’une ou deux faces ou intégrés dans le vitrage, coloris et épaisseurs
     au choix
  – intercalaire warm edge/bord chaud (coefficient d’isolation thermique Psi meilleur
    d’au moins 0.1 W/(m2.K)
* panneau plein simple (deux panneaux pvc renforcés par deux lames de contreplaqué
   4 mm,  séparés par une mousse isolante haute densité) ou panneau décoratif
* mixte vitrage/panneau plein
Coloris :
* blanc teinté dans la masse
* autres teintes par plaxage texture veinage (nombreuses imitation bois) ou texture sable fin
* bi-coloris: blanc/couleur, couleur/couleuruleur

 

 

PLUS D’INFORMATION ? DEMANDE DE DEVIS ?

CLIQUER ICI

COULISSANTS FENETRES, PORTES

Lorsque l’ouverture complète de fenêtres ou de portes-fenêtres est compliquée ou difficile par manque de place par exemple, ou quand il y a de grands gabarits de menuiseries à prévoir, la solution coulissant peut être une bonne option.

Au lieu de pivoter à l’horizontal comme dans les fenêtres à frappe, les vantaux de la baie glissent l’un par devant l’autre sur les rails fixés dans la traverse basse du dormant, offrant ainsi un gain d’espace indéniable.

Le plus souvent, un vantail est mobile et un fixe, mais dans certains systèmes, les deux ouvrants peuvent êtres mobiles.

 

Les coulissant en PVC sont aujourd’hui de bonne qualité. Cependant, pour les baies coulissantes, en particulier de grand gabarit donc de poids important, la qualité doit être supérieure, aussi bien celle des ferrures, que celle des profilés dont dépend leur solidité et robustesse.

D’autre part, il faut savoir que le plastique bien plus que tout autre matériau de menuiserie, exposé à des températures extrêmes subit des variations dimensionnelles. Il se dilate au chaud et se rétrécit au froid et la dilatation est d’autant  plus significative pour les couleurs foncées qu’elles ont la faculté d’accumuler la chaleur. Par conséquent, pour ne pas risquer de mauvaises surprises, on conseille de choisir les coulissants de très haut de gamme ou dans la mesure du possible, d’opter pour les baies vitrées aluminium ou bois.

 

COULISSANTS PSK A TRANSLATION, SMART SLIDE, HST 85,
HST 82 VEKAMOTION

 

Les partenaires de CHACUN SES FENETRES ont dans leur offre PVC des menuiseries levantes coulissantes HST, des coulissants apparentés SMART SLIDE et aussi des fenêtres oscillo-coulissantes PSK autrement dit à translation.

En fonction du type de coulissant divers schémas de configuration sont possibles dont quatre de base, à savoir A, C, D, F.

SCHEMA A
mobile/fixe

SCHEMA C
fixe/mobile/mobile/fixe


SCHEMA D
mobile/mobile

SCHEMA F
mobile/mobile/mobile/mobile

COULISSANT A TRANSLATION PSK, coulissant basic

Dans le système PSK dit à translation, les ouvrants de la gamme IDEAL se transforment en coulissants grâce aux ferrures spécifiques. Lorsque l’on tourne et tire la poignée, le vantail bascule sur le rail situé sur la traverse basse du dormant, et peut coulisser.

Il faut cependant garder à l’esprit que ce système hybride ne peut pas avoir les mêmes qualités que les coulissants HST ou SMART SLIDE, aussi le conseille-t-on plutôt pour les fenêtres, telles les fenêtres de cuisine pour lesquelles la position oscillo du système PSK peut être appréciable.

PLUS D’INFORMATION ? DEMANDE DE DEVIS ?

CLIQUER ICI

SMART SLIDE alternative au coulissant à translation

SMART SLIDE est une alternative très intéressante aux coulissants PSK, avec comme principaux atouts très bons paramètres d’étanchéité  à l’air, à l’eau et de résistance au vent. Ces performances notables sont dues aux joints périphériques de vantaux, à la forme particulière, qui en position coulissant fermé, sont plaqués perpendiculairement contre le dormant sur tout son pourtour. La pression des joints se relâche quand on tourne la poignée vers le haut pour débloquer le vantail, que l’on peut par la suite faire glisser sans effort devant le vantail fixe.

MENUISERIES PVC

FENÊTRES

IDEAL 4000

SOFTLINE 76

SOFTLINE 82

INTERTEC 85

VARIANTE RENOVATION

PORTES D'ENTREE

PORTE SL 76

PORTE SL 82

PORTE 85

COULISSANTS

COULISSANT PSK

COULISSANT
SMART SLIDE

COULISSANT HST VM 82

COULISSANT HST 85

HABILLAGE ALUSKIN

COLORIS

COEFFICIENT Uw

CARACTERISTIQUES PRINCIPALES

Configuration : schéma A, C, répartition symétrique ou asymétrique
Profondeur dormant 140 mm, ouvrant 70 mm
Forme de contour de vantail plate
Construction dimensions maximum 4000 x 2400 mm (schéma A)
Joints périphériques TPE
Verrouillage sur tout le pourtour de l’ouvrant
Possibilité galet champignon anti-effraction
Remplissage : épaisseur jusqu’à 48 mm
* vitrage double 4/16Ar/4 ou autre, triple 4/16Ar/16AR/4 ou autre, en option :
  – propriétés spécifiques : isolation thermique accrue, isolation phonique accrue,  sécurit,
    anti-effraction, contrôle solaire
  – nombreux aspects décoratifs : delta, chinchilla, dépoli etc.
   – intercalaire warm edge (coefficient d’isolation thermique Psi meilleur d’au moins
     0.1 W/(m2.K)
* panneau plein (deux panneaux pvc renforcés par deux lames de contreplaqué 4 mm,
   séparés par   une mousse isolante haute densité)
Coloris :
* blanc teinté dans la masse
* autres teintes par plaxage texture veinage (nombreuses imitation bois) ou texture sable fin
* bi-couleurs blanc/couleur ou couleur/couleur

 

MENUISERIES ALUMINIUM

MENUISERIES BOIS

MENUISERIES BOIS

VOLETS ROULANTS

PORTES DE GARAGE

PLUS D’INFORMATION ? DEMANDE DE DEVIS ?

CLIQUER ICI

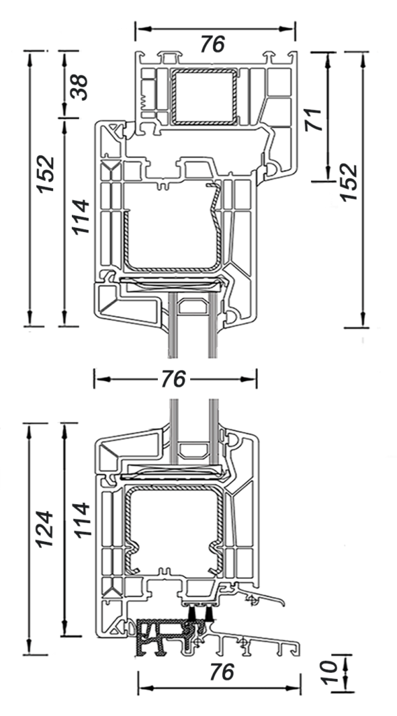
LEVANT-COULISSANT HST 85 coulissant haut de gamme

De par ses paramètres techniques et ses performances, le levant-coulissant HST est  le meilleur dans sa catégorie. Sa variante STANDARD est la plus populaire. Le modèle PREMIUM est plus cher mais il est le mieux isolé, car d’une part il a un seuil en plastique/ fibre de verre GFK, rempli entièrement de mousse PU, d’autre part sa coulisse haute est en plastique /fibre de verre GF, les deux améliorant sensiblement la conductivité thermique de l’ensemble.

Max. wartość współczynnika Uw: do 0,63 W/m²K

MENUISERIES PVC

FENÊTRES

IDEAL 4000

SOFTLINE 76

SOFTLINE 82

INTERTEC 85

VARIANTE RENOVATION

PORTES D'ENTREE

PORTE SL 76

PORTE SL 82

PORTE 85

COULISSANTS

COULISSANT PSK

COULISSANT
SMART SLIDE

COULISSANT HST VM 82

COULISSANT HST 85

HABILLAGE ALUSKIN

COLORIS

COEFFICIENT Uw

MENUISERIES ALUMINIUM

MENUISERIES BOIS

VOLETS ROULANTS

PORTES DE GARAGE

CARACTERISTIQUES PRINCIPALES

Configuration : schéma A, C, répartition symétrique ou asymétrique
Profondeur dormant 197 mm, ouvrant 85 mm
Forme de contour de vantail plate
Construction dimensions maximum 4000 ??? x 2700 mm (schéma A)
Renforts en alu avec intercalaire thermique
Coulisse haute alu
Joints tubulaires EPDM
Blocage vantail pour aération
Seuil 48 mm alu/PVC avec intercalaire thermique (en polyamide PA), encastrable totalement dans le sol
Possibilité de galet champignon anti-effraction ???
Remplissage : épaisseur jusqu’à ?? mm
* vitrage double 4/16Ar/4 ou autre, triple 4/16Ar/16AR/4 ou autre, en option :
  – propriétés spécifiques : isolation thermique accrue, isolation phonique accrue,  sécurit,
    anti-effraction, contrôle solaire
   – nombreux aspects décoratifs : delta, chinchilla, dépoli etc.
   – intercalaire warm edge (coefficient d’isolation thermique Psi meilleur d’au moins
     0.1 W/(m2.K)
* panneau plein (deux panneaux pvc renforcés par deux lames de contreplaqué 4 mm, séparés par   une mousse isolante haute densité)
Coloris :
* blanc teinté dans la masse
* autres teintes par plaxage texture veinage dont de nombreuses imitations bois ou texture
  sable fin
* bi-coloris: blanc/couleur ou couleur/couleur

 

PLUS D’INFORMATION ? DEMANDE DE DEVIS ?

CLIQUER ICI

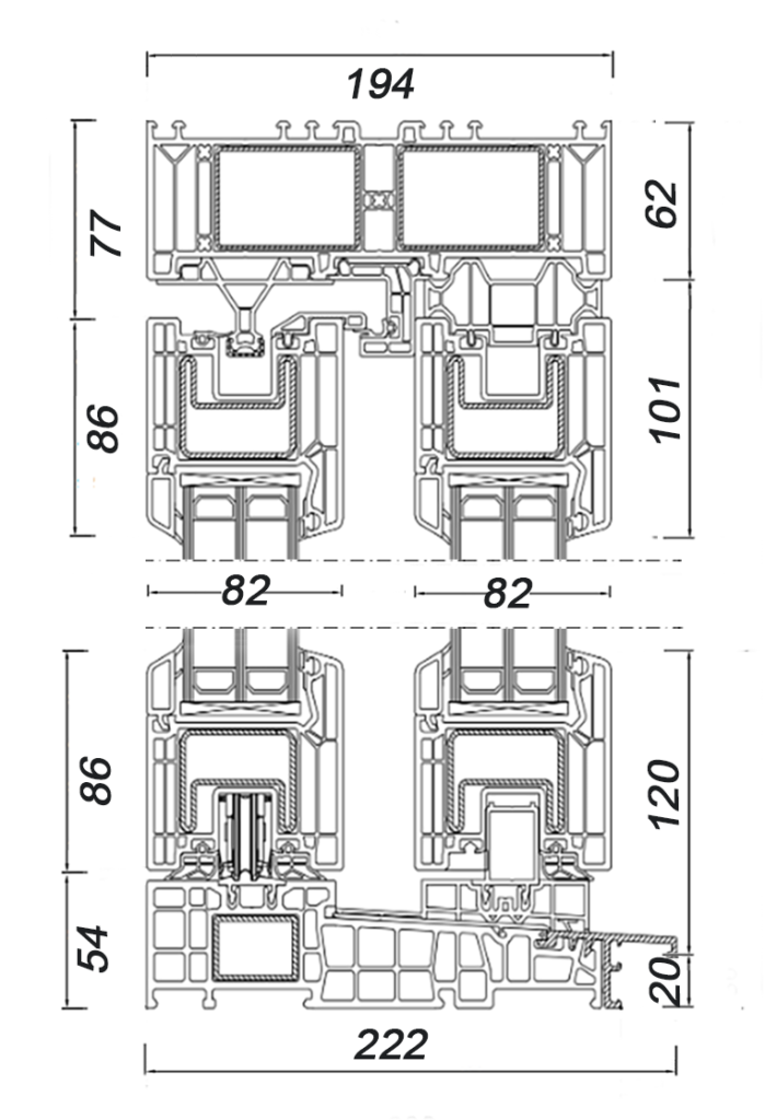
LEVANT-COULISSANT HST VEKAMOTION 82 le mieux noté des coulissants

Grâce à la solidité et la robustesse des profilés, les paramètres techniques supérieurs, les levants-coulissants VEKAMOTION 82 peuvent avoir jusqu’à 2 700 mm de hauteur donc bien plus que les coulissant des autres systèmes. couissanet ses performances, le levant-coulissant VEKAMOTION 82 est le meilleur dans sa catégorie. Dotés des mécanismes spéciaux de ferrure, même de très grands et lourds vantaux sont manœuvrés sans effort et avec souplesse. Pour ouvrir la baie coulissante HST, on abaisse la poignée ce qui déclenche le relâchement de la pression des joints, fait lever légèrement le vantail qui, par la suite, peut glisser aisément devant un autre vantail fixe ou mobile.

VEKAMOTION 82 w konstrukcji o wymiarach zewnętrznych 350 x 230 cm, z pakietem szybowym o grubości 54 mm i Ug=0,5 W/m²K oraz Psi ramki przyszybowej 0,031, osiągnie Uw=0,78 W/m²K.

MENUISERIES PVC

FENÊTRES

IDEAL 4000

SOFTLINE 76

SOFTLINE 82

INTERTEC 85

VARIANTE RENOVATION

PORTES D'ENTREE

PORTE SL 76

PORTE SL 82

PORTE 85

COULISSANTS

COULISSANT PSK

COULISSANT
SMART SLIDE

COULISSANT HST VM 82

COULISSANT HST 85

HABILLAGE ALUSKIN

COLORIS

COEFFICIENT Uw

MENUISERIES ALUMINIUM

MENUISERIES BOIS

VOLETS ROULANTS

PORTES DE GARAGE

CARACTERISTIQUES PRINCIPALES

Configuration : schéma A, C, répartition symétrique ou asymétrique
Profondeur dormant 194 mm, ouvrant 82 mm
Forme de contour de vantail plate
Construction dimensions maximum 6000 x 2700 mm (schéma A)
Renforts en alu avec intercalaire thermique
Coulisse haute alu
Joints tubulaires EPDM
Blocage vantail pour aération
Seuil 50 mm alu/PVC avec intercalaire thermique (en polyamide PA), encastrable totalement dans le sol  prog tworzywo  pvc
Possibilité de galet champignon anti-effraction ???
Remplissage : épaisseur jusqu’à 48 mm
* vitrage double 4/16Ar/4 ou autre, triple 4/16Ar/16AR/4 ou autre, en option :
  – propriétés spécifiques : isolation thermique accrue, isolation phonique accrue,  sécurit,
    anti-effraction, contrôle solaire
   – nombreux aspects décoratifs : delta, chinchilla, dépoli etc.
   – intercalaire warm edge (coefficient d’isolation thermique Psi meilleur d’au moins
     0.1 W/(m2.K)
* panneau plein (deux panneaux pvc renforcés par deux lames de contreplaqué 4 mm,
   séparés par   une mousse isolante haute densité)
Coloris :
* blanc teinté dans la masse
* autres teintes par plaxage texture veinage dont de nombreuses imitations bois ou texture
  sable fin
* bi-coloris: blanc/couleur ou couleur/couleur

 

PLUS D’INFORMATION ? DEMANDE DE DEVIS ?

CLIQUER ICI

MENUISERIES CAPOTAGE ALUSKIN

Les menuiseries mixtes PVC/alu sont un bon compromis entre les menuiseries en PVC résistant  moins bien aux intempéries et aux chaleurs (les teintes foncées en particulier) que celles en aluminium, et les menuiseries aluminium moins performantes thermiquement que celles en PVC. Ainsi les fenêtres en PVC habillées par clipsage sur leur face extérieure avec le revêtement aluminium ALUSKIN gagnent en durabilité, elles sont plus résistantes et se comportent mieux dans les températures élevées.

Le capotage ALUSKIN découpé à 90° ou à 45°, peut être anodisé, laqué ou thermolaqué en de très nombreux coloris, il s’adapte sur tous les types de menuiseries aussi bien les fenêtres et les portes que les coulissants

PLUS D’INFORMATION ? DEMANDE DE DEVIS ?

CLIQUER ICI